Offertförfrågan
Tack för din förfrågan!
Vi strävar alltid efter att återkomma till dig inom 24 hKontakta oss
Fyll i kontaktformuläret så återkopplar vi till dig så snabbt vi kan
Tack för din förfrågan!
Vi strävar alltid efter att återkomma till dig inom 24 hTillbaka till produkt
Ring oss
+46(0)36 316570
SVERO
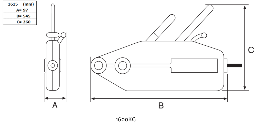
Art nr. 1615
Dragblock 1600 kg, för vajer
SVERO vajerdragblock i aluminium använder du för lyft, drag och uppspänning av lina. Linan kontrolleras genom den dubbla låsanordningen som håller den spänd under hela lyftet eller draget. Avtagbart handtag för smidig hantering.
4 010 SEK
Exkl. momsi lager
–
+
Beskrivning
- kompakt, lätt konstruktion i aluminium
- galvaniserad stållina och krok
- enkel och säker manövrering
- överlastskydd via en sprint som går sönder vid överlast.
4 extra sprintar medföljer i handtaget
- avtagbart handtag för smidig hantering och lagring
- valfri längd på vajer kan användas
- andra vajerlängder än standard kan offereras
- arbetstemperatur -10° C upp till +50° C
- test- och CE-certifikat samt manual medföljer
- spårbart med unikt SVERO serienummer
Egenskaper
Art nr.
1615
WLL
1600
Testlast
2400
Säkerhetsfaktor
4:1
Vikt, netto
11
Märkning
CE, WLL
Vajerdiameter
11
Standard
EN 13157
Varumärke
SVERO
Manual
Produktblad 

